Historicamente, a Garmin tem oferecido variantes de seus smartwatches voltados para atividades ao ar livre com recursos de carregamento solar que, teoricamente, oferecem vida útil infinita da bateria. Na prática, modelos como o Instinct 3 Solar e o Fenix 7 Pro Solar (atualmente, US$ 449 na Amazon) fornecem entre três e cinco semanas de bateria cada um, dependendo da quantidade de luz solar a que são expostos diariamente.
Até o momento, a Garmin só ofereceu carregamento solar com smartwatches que também têm telas Memory in Pixel (MiP). Como resultado, o Fenix 8 Solar e o Tactix 8 Solar não contam com a tecnologia de painel AMOLED mais vibrante encontrada no Fenix E e no Fenix 8 normal. Enquanto isso, ainda não existem versões Solar do Fenix 8 Pro, já que a Garmin restringiu seus últimos smartwatches da marca Pro a telas AMOLED e microLED.
Os Top 10
» Os Top 10 Portáteis Multimídia
» Os Top 10 Portáteis de Jogos
» Os Top 10 Portáteis Leves para Jogos
» Os Top 10 Portáteis Acessíveis de Escritório/Empresariais
» Os Top 10 Portáteis Premium de Escritório/Empresariais
» Os Top 10 dos Portáteis Workstation
» Os Top 10 Subportáteis
» Os Top 10 Ultrabooks
» Os Top 10 Conversíveis
» Os Top 10 Tablets
» Os Top 10 Smartphones
» A melhores Telas de Portáteis Analisadas Pela Notebookcheck
» Top 10 dos portáteis abaixo dos 500 Euros da Notebookcheck
» Top 10 dos Portáteis abaixo dos 300 Euros
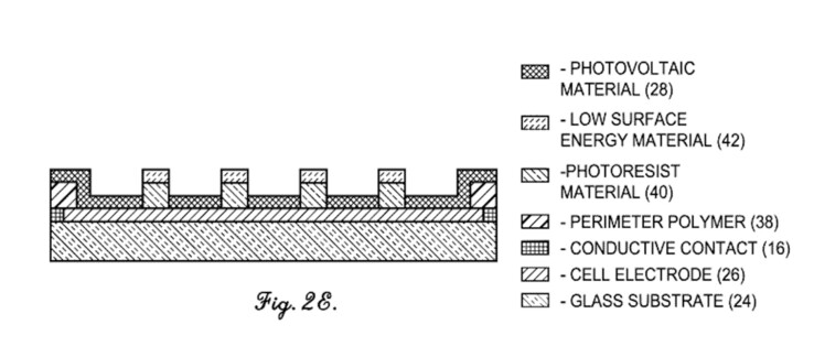
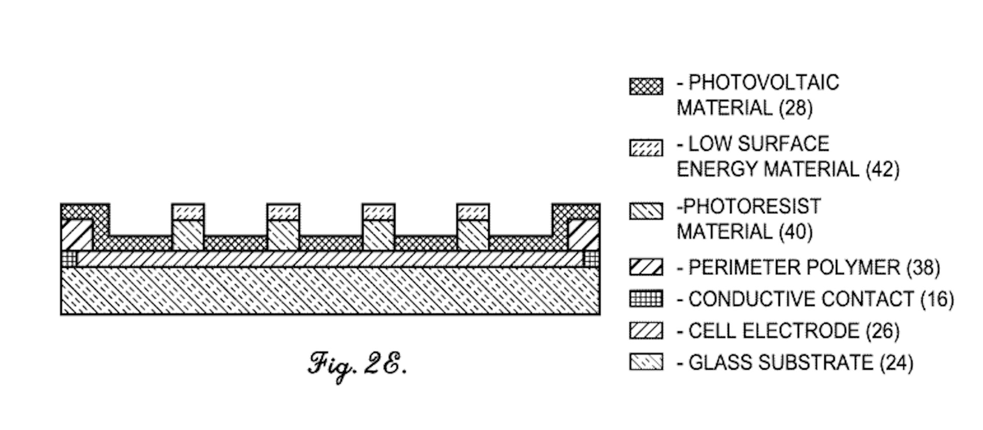
Entretanto, uma publicação recente de patente indica que a Garmin espera mudar essa restrição atual reformulando a implementação da célula solar. Registrada no United States Patent and Trademark Office (USPTO) como US 2025/0359354 A1a patente descreve uma célula solar semitransparente que não comprometeria a visibilidade do painel AMOLED.
Consequentemente, o site Gadgets & Wearables especula que a Garmin está trabalhando para lançar smartwatches de alta qualidade com telas AMOLED e recursos de carregamento solar. O USPTO concedeu essa patente apenas em 20 de novembro. Portanto, suspeitamos que a Garmin ainda está a alguns anos de produzir em massa essa tecnologia, se é que ela pretende fazê-lo. Dito isso, não esperamos ver os smartwatches Fenix 9 Pro chegando antes de 2027.










