Em uma nova patente descoberta pelo tech4gamers.com, a AMD expressa suas preocupações com relação aos limites de largura de banda do padrão DDR5, especialmente agora com a demanda cada vez maior por poder de computação de IA. Enquanto a Nvidia e produtores de chips de memória como a Samsung, SK Hynix e Micron estão se concentrando no padrão SOCAMM2 a AMD está propondo uma alternativa que seria mais fácil de implementar em sistemas DDR5 existentes, sejam eles soluções para consumidores ou centros de dados.
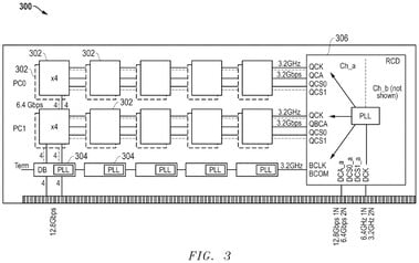
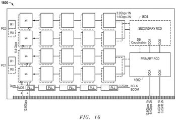
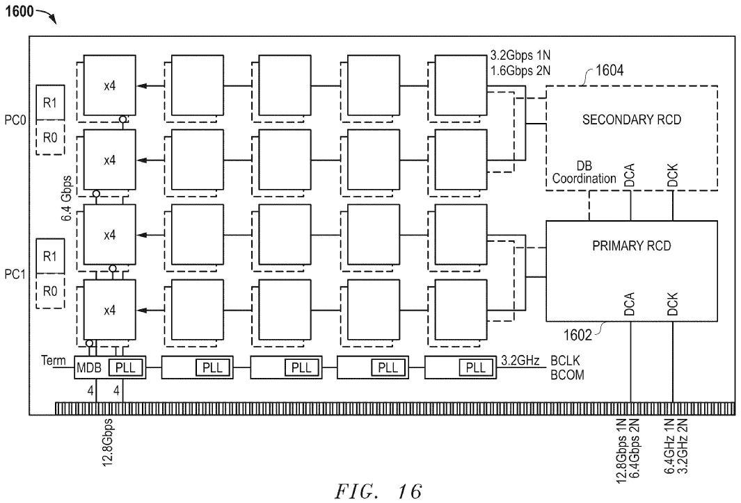
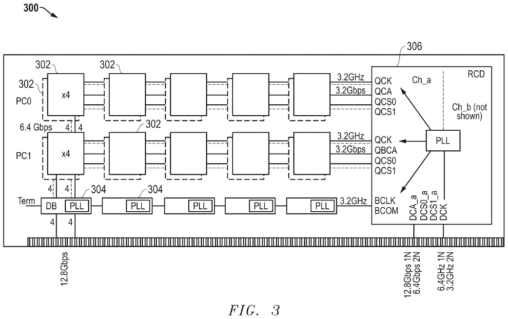
O padrão de memória aprimorado da AMD envolve "uma arquitetura de módulo de memória de alta largura de banda" que essencialmente dobra a largura de banda máxima atual da DDR5 de 6,4 Gbps. É importante observar aqui que a largura de banda de 12,8 Gbps é obtida sem modificar os designs dos chips DRAM. Em vez disso, os chips DRAM são colocados em um módulo de memória em linha duplo de alta largura de banda (HB-DIMM). Os módulos também integram uma série de componentes de hardware adicionais, como chips de buffer especiais que permitem transferências de dados duas vezes mais rápidas do que o padrão DDR5 permitiria. Além disso, o módulo faz uso de drivers de relógio de registro (RCDs) que encaminham sinais de forma mais eficiente, paralelizando o acesso à memória e, assim, rompendo os limites de rendimento do padrão DDR5.
O registro de patente observa que os HB-DIMMs permitem a troca rápida entre os modos pseudo-canal e quad-rank, tornando a solução viável para HPCs, casos de uso de IA e sistemas de jogos. A compatibilidade com DDR5 é garantida com o auxílio de modos de clocking flexíveis, além de um formato de transferência de dados não intercalado que mantém a integridade do sinal e a baixa latência.
Parece que o HB-DIMM é muito semelhante ao padrão MRDIMM (Multiplexed Rank Dual Inline Memory Modules) existente da Micron. No entanto, o MRDIMM só está disponível para a plataforma Xeon Granite Rapids da Intel, portanto, a AMD provavelmente está procurando ter algo semelhante para os futuros processadores EPYC. A Phoronix publicou recentemente um teste DDR5-6400 vs MRDIMM-8800 e o padrão proprietário da Micron parece ser de fato mais rápido, mas certamente não duas vezes mais rápido que o DDR5.
Atualmente, o SOCAMM2 conta com mais suporte do setor, portanto, o HB-DIMM da AMD pode ter dificuldades para ser adotado, pelo menos no que diz respeito aos setores de HPC e servidores.
Fonte(s)
via Techradar / Tech4Gamers / OC3D.net
Os Top 10
» Os Top 10 Portáteis Multimídia
» Os Top 10 Portáteis de Jogos
» Os Top 10 Portáteis Leves para Jogos
» Os Top 10 Portáteis Acessíveis de Escritório/Empresariais
» Os Top 10 Portáteis Premium de Escritório/Empresariais
» Os Top 10 dos Portáteis Workstation
» Os Top 10 Subportáteis
» Os Top 10 Ultrabooks
» Os Top 10 Conversíveis
» Os Top 10 Tablets
» Os Top 10 Smartphones
» A melhores Telas de Portáteis Analisadas Pela Notebookcheck
» Top 10 dos portáteis abaixo dos 500 Euros da Notebookcheck
» Top 10 dos Portáteis abaixo dos 300 Euros







